いつもinntoをご利用頂き有り難うございます。 inntoは、ご導入頂いている皆様の声を反映し、定期的にアップデート、機能追加をしていく進化するPMS(宿泊管理システム・ホテルシステム)です。
今回、2025年10月15日のアップデート内容をお知らせ致しますので、ご確認下さい。
栃木県那須町宿泊税に対応しました
栃木県那須町にて2026年10月1日から施行される宿泊税の税金対応が、inntoの設定で可能になりました。
宿泊税の税金設定をすることで、宿泊料金に応じた宿泊税が自動的に加算されます。
※宿泊税科目の自動加算適用は本アップデート後・該当項目設定後に取り込んだ予約が対象となります。
本アップデート前に取り込み、または登録された”2026年10月1日以降”の予約につきましては、
恐れ入りますが、必要に応じて予約詳細画面にて宿泊税をご登録いただきますようお願いいたします。
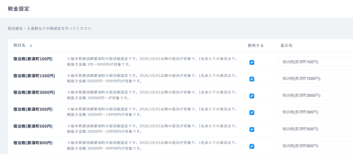
栃木県那須町宿泊税の設定方法
inntoの「設定」から、「税金設定」をクリックしてください。
設定する税金科目が表示されますので、栃木県那須町の宿泊税を選択し、保存を押して設定完了となります。
※現在、税金設定項目の表示順がヨミガナ順になっております。明細・集計表では正しい段階順で表示されます。
関連する税金設定は全て選択し保存していただくようお願いします。
修学旅行その他学校行事に参加する者及びその引率者などの課税免除がある場合は、予約明細より宿泊税を0円にする編集操作が必要となります。
予約明細への宿泊税の表示
上記税金設定を行うことで、2026年10月1日以降の予約に対して、宿泊料金に応じて宿泊税が自動的に加算されます。
※サイトコントローラーからの予約取込時は、サイトコントローラーからの通知される料金・人数に応じて算出されます。
予約明細の「宿泊料」の左側にある「+」を押すことで、宿泊料に対応する宿泊税を閲覧することが可能です。
※宿泊税科目の自動加算適用は本アップデート後・該当項目設定後に作成・取り込んだ予約が対象となります。
宿泊税を編集したい場合は、「利用明細」の左側にある鉛筆アイコンをクリックすることで、編集することができます。


